
前言
新冠肺炎疫情影响下,我国工业和国民经济受到较大冲击。伴随中央陆续出台一系列政策措施,支持疫情防控,推动复工复产,国内初步呈现疫情防控形势持续向好、生产生活秩序加快恢复的态势。在此期间,粉体装备企业都采取了哪些有效措施来应对疫情的冲击?4月29日下午,中国粉体网记者电话连线采访了国内知名的超细纳米研磨&粉体包覆改性装备供应商——无锡泰贤粉体科技有限公司(以下简称“无锡泰贤”)的总经理边浩光先生。

中国粉体网:早在2012年,中国粉体网对无锡新光粉体科技有限公司边总有过一次专访;8年的时间过去了,请问贵公司有哪些变化?
边总:2018年以后,无锡新光粉体发生了比较大的变动,原新光粉体被无锡泰基众星智能装备有限公司收购,其后泰基集团注资成立注册了无锡泰贤粉体科技有限公司,无锡泰克勒智能科技有限公司,合资了无锡零一未来研究院与无锡亚控科技,公司走向了集团化的光明未来。
目前,国内员工人数、部门在不断地增加,技术在趋于国际化。智能化设备已出口到美国、日本、韩国、挪威等国,国内所需市场约占50%的份额。现在的产品由单一产品向产线、智能化方向发展,尤其是在锂电池材料行业的应用取得了显著的发展。
无锡泰贤的装备在粉体行业的应用也得到了大力的发展。电子陶瓷、特种陶瓷、化工、医药、食品、涂料、油墨等行业的粉体化,都离不开本公司的微纳米粉碎分散研磨装备以及表面颗粒设计的装备,以及后期亚控带来的粉体行业专用的mes软件等系统。

棒销式分散研磨机SMLYU系列
中国粉体网:无锡泰贤(原无锡新光)有30年的发展历史,见证了众多行业市场的兴衰,无锡泰贤的产品应用领域有没有什么转变?目前的主要应用领域是什么?
边总:泰贤(原新光)在1989年刚建厂时,主要从事电子陶瓷喷雾造粒设备;90年代中期,向微纳米研磨分散装备进军;2000年后,开始拓展微纳米粉体的表面设计、表面改性、包覆、融合等装备。这些产品被广泛应用于锂电池正负极材料、导电剂、电子陶瓷、特种陶瓷材料、医药、化工、涂料、食品等粉体行业。
随着应用领域的拓展,我们也在增进与客户的紧密联系,跟随客户的工艺研发,积极主动地进行装备的技术创新,譬如前两年开发的负极石墨的高温沥青包覆设备,更深入地从装备技术、材料技术、工艺技术的结合去满足客户更高的需求。
中国粉体网:无锡泰贤有哪些独具特色的设备和技术?这些设备和技术的研发,对相关行业的发展起到什么作用?在服务客户方面,无锡泰贤有哪些举措?
边总:30年来,我们主张不做低端的重复性的工作,将研发方向瞄准国际先进,填补国内空白,进而与国内外客户合作,紧随工艺来自主创新我们的粉体装备。这几年我们自主开发的比较独特的技术有:
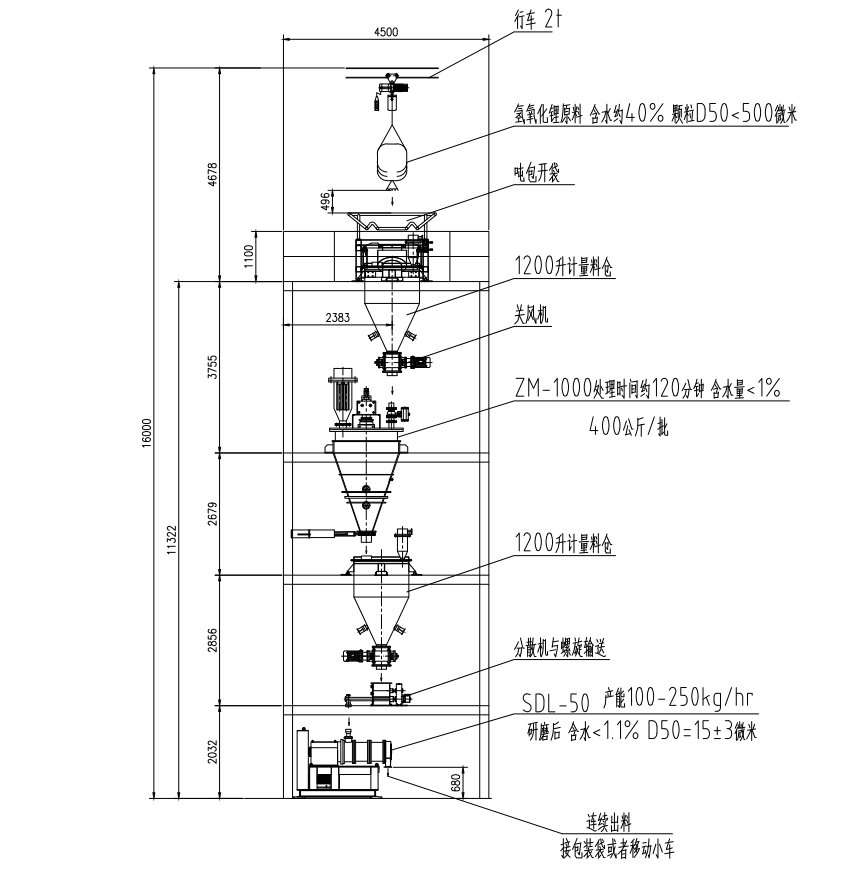
(1)目前高镍三元正极材料产业化过程中的技术难点之一,是原材料氢氧化锂的预处理问题。采用我们独特的干燥-粉碎-计量一体化设备,能够为客户提供粒度分布更窄、更容易混合、成本更低的产线;

氢氧化锂粉碎线

粉碎效果图
(2)引进欧洲最近技术标准制造的高混机,解决锂电正极材料混合包覆装备质量问题,并突破高端pvc行业的高混机质量问题;

高速混合机FRM系列
(3)超高压分散设备:目前我们可以提供湿法超高压的分散和研磨系统,应用于石墨烯、单壁碳纳米管、纤维素、高纯度陶瓷等;

超高压系统原理图
(4)融合与包覆装备:我们相继开发了纳米粉体对微米粉体的包覆、融合设备;纳米粉体液态雾化方式包覆微米颗粒的设备、表面融合装备,广泛应用于锂电正负极材料、塑料、涂料、医药、化妆品等新材料行业;

高温包覆机VCJ系列
(5)金属粉片状化设备:打破国外专业领域垄断,成套提供生产线,可应用于超导电导热材料、摩擦材料、铜粉材料和有机硅催化剂等,主要应用领域有:电脑手机领域、汽车地铁领域、光伏产品领域及有机硅产品领域。

干法粉碎机SDL系列

搅拌式球磨机HA系列
无锡泰贤拥有先进的粉体加工实验室,配备国际尖端的激光粒度分析仪、粘度测量计等测量设备。实验展示车间占地1800余平米,可对客户来样进行粉体干法和湿法的研磨、分散、搅拌、混合、包覆、改性、颗粒表面设计等各种售前工艺试验。激情、诚信、创新、专注是我们对待产品和客户的始终如一的坚持原则。
中国粉体网:在特种陶瓷粉体加工领域,无锡泰贤的装备有哪些优势?另外,您怎样看特种陶瓷行业的发展前景?
边总:无锡泰贤在陶瓷粉体行业深耕多年,积累了丰富的经验,可针对不同物料提供不同的解决方案,并不断研发符合客户特殊需求的设备,得到了广泛好评。客户使用无锡泰贤的装备,可以制备超细、形貌为球形的颗粒。我们在陶瓷领域的优势体现在以下一些方面。
首先,我们不仅对于研磨粒度有更高效的装备研发,而且更深入地致力于影响陶瓷材料质量的一些因素如颗粒表面形貌、粒度分布的专业研究。这样的思路使我们的装备更加贴合客户的实际需求。同时,我们也对现有陶瓷工艺的流程和研磨方式进行改善,材料干磨和湿法研磨相结合的方式,能为客户大幅降低设备的能耗成本。
目前这些工作都是针对特种陶瓷领域开发的,至于特种陶瓷的发展前景,相对来说,一些较高端的应用仍然是被日本、德国所垄断,应该来讲,我们的发展前景和空间很大,所以我们的材料厂商和设备厂商都需要一起努力。
客户案例:MLCC原料要研磨至D50=(0.8±0.2)μm,要求粒度分布窄,用SML棒销式研磨机研磨D50低于0.6um,达不到客户要求;使用泰贤专用的分散型砂磨机轻松控制粒度分布。

中国粉体网:新冠疫情对无锡泰贤有哪些影响?在抗击疫情期间,无锡泰贤做了哪些工作去应对疫情的影响?
边总:新冠疫情造成整体市场需求疲软,传统销售形式受到限制。在这种特殊时期,单靠既有客户资源是不够的,因为客户也受到一定程度的影响。无锡泰贤采取的解决方案有:
(1)稳住既有市场:在市场萎缩时,对于任何一笔订单,我们都做到尽心尽力,除了按期交货之外,必须做到超出客户的期望值。从下订单后,每两天用报表向客户主动汇报进度状况,让对方更加清楚自己的订单状况,降低客户时间和精力成本;
(2)在产品质量不变或有所提升的情况下,坚持不涨价:通过寻找更优质的供应商,加强成本的管控;
(3)研发新设备,拓展系列产品:疫情期间是企业修炼内功、提升竞争力的一个机会;
(4)优化内部管理,提高各方效率:这包括了生产、品管、加工、组装等各个环节;
(5)构筑良好的人际关系,加强新客户的开发及流失客户的挽回:主动了解每一位客户(不管是既有客户还是潜在的新客户),销售管理精益化,看数据,做分析,问题点改善,改善后行成标准;
(6)坚持全员销售:领导,销售本身,研发,技术,生产,售后等部门利用机会,全员销售,充分利用网络(如微信、企业微信、钉钉、E-mial等)力求克服出行难的问题;
(7)积极开拓海外市场:建立了无锡泰贤粉体英文网站;
(8)加大在网络媒体上的宣传力度:定期发布公司的实时动态、产品资料、技术文章和应用知识,利用新媒体营销的方式,让客户逐步加深对无锡泰贤粉体的了解与信赖。
总之,我们希望通过以上各种有效的方案能够化逆境为动力,抓住实现更大飞跃的机会!
中国粉体网:您怎样看粉体材料企业和粉体装备企业之间的关系?对于粉体行业的健康发展,您有何建议?
边总:这么多年,其实我们也感觉到了一些问题,我们也希望在今后和一些材料厂家的合作上,能够更紧密,因为很多需求点或者痛点难题都来自于材料厂家,我们装备厂家实际上是为了解决材料厂家的痛点问题而存在的,所以在这个问题上,双方的组织关系和服务关系都要建立好。
国内材料厂商和设备厂商双方都应该尊重知识产权,设备厂商要尊重材料厂商的知识产权,材料厂商也要正确地对待设备厂商的知识产权,要相互理解,相互尊重,后面的合作才会更好,进步也会更快,双方也会更加信任。
(采编/中国粉体网安振华;文字整理/宋初末)